日前,广东华兴银行1.28亿股股权被摆上拍卖台,每股均价降至1.06元的历史低点,与其评估价1.90元/股相比,降价幅度超过40%。

据阿里资产司法拍卖平台显示,广东华兴银行两笔数量分别为3000万股、9800万股的股权正在变卖,当前价分别为3192万元、1.04亿元,每股均价分别为1.06元、1.06元。

据了解,广东华兴银行上述2笔股权的持有人为上海升龙投资集团有限公司(以下简称“升龙投资”),上述1.28亿股股权已被司法冻结,由福州市中级人民法院依法处置。评估报告显示,升龙投资持有的广东华兴银行39050万股股权的评估价值为74195万元,每股均价1.90元。该行股权的变卖价仅相当于其评估价的55.79%,即折价不到六折变卖。

公开资料显示,升龙投资目前位居广东华兴银行第二大股东席位,持股数量10亿股,持股比例12.50%。


据中国执行信息公开网提供的信息显示,升龙投资目前已成为失信被执行人,该公司现存5条失信被执行人记录,涉案总金额1630.66万元,失信被执行人行为具体情形为“有履行能力而拒不履行生效法律文书确定义务”、“违反财产报告制度”,被执行人的履行情况为“全部未履行”。

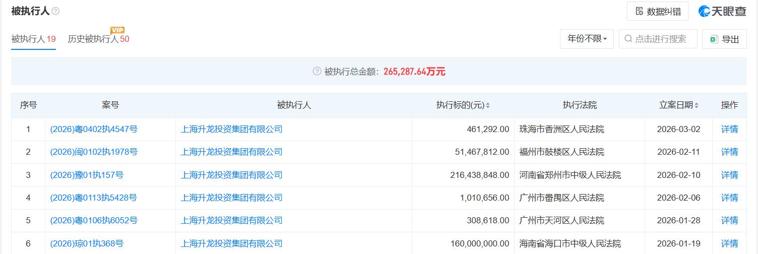
天眼查显示,升龙投资现存19条被执行人记录, 被执行总金额高达26.53亿元。该公司现存13条终本案件信息,执行标的总金额6.66亿元,未履行总金额 6.66亿元,未履行比例100%。

值得注意的是,广东华兴银行上述2笔正在变卖的股权此前已两次流拍。2025年11月,该行9800万股股权首次上架拍卖,起拍价1.30亿元,本场拍卖因“无人出价”而流拍。今年1月,该笔股权第二次拍卖,起拍价降至1.04亿元,较首次拍卖降价2606.80万元,降幅为20%。即便如此,本场拍卖仍旧因“无人出价”而流拍。

广东华兴银行另外一笔3000万股的股权也出现了同样的情形。2025年11月,该笔股权首次上架拍卖,起拍价3990万元,本场拍卖因“无人出价”而流拍。今年1月,该笔股权第二次拍卖,起拍价降至3192万元,较首次拍卖降价798万元,降幅为20%。即便如此,本场拍卖仍旧因“无人出价”而流拍。

记者注意到,广东华兴银行的股权出现严重贬值现象。2023年12月,该行3000万股股权被郑州市中级人民法院司法拍卖,起拍价为 7522.50万元,每股均价约2.51元。如今该行股价每股变卖均价已降至1.06元,该行股权价值两年间下降1.45元,降幅接近60%。

据了解,广东华兴银行第三大股东勤诚达控股有限公司目前也成为失信被执行人,该股东持有的该行全部股份(8亿股)已多次被司法冻结。2025年10月,该股东被深圳市龙岗区人民法院列入失信被执行人名单,涉案总金额 6.14万元,失信被执行人行为具体情形为“其他规避执行”,被执行人的履行情况为“全部未履行”,立案日期为2025年10月20日。

截至目前,广东华兴银行尚未公布2025年报。此前,该行2023年度和2024年度连续两年出现“营利双降”现象。在业绩下滑压力下,广东华兴银行连续两年未向股东分红。该行2024年报称,“本年度本行未向股东进行利润分配,2023年度本行未向股东进行利润分配。”
(山东财经网报道组)