7位实控人平均60岁+募投合理性遭质疑!泰鹏环保二度冲刺A股遇阻
近日,北交所向山东泰鹏环保材料股份有限公司(874417.NQ,下称“泰鹏环保”)出具《关于山东泰鹏环保材料股份有限公司公开发行股票并在北交所上市申请文件的第二轮审核问询函》,围绕公司控制权结构、盈利真实性、募投项目必要性及可行性三大问题开展进一步问询。

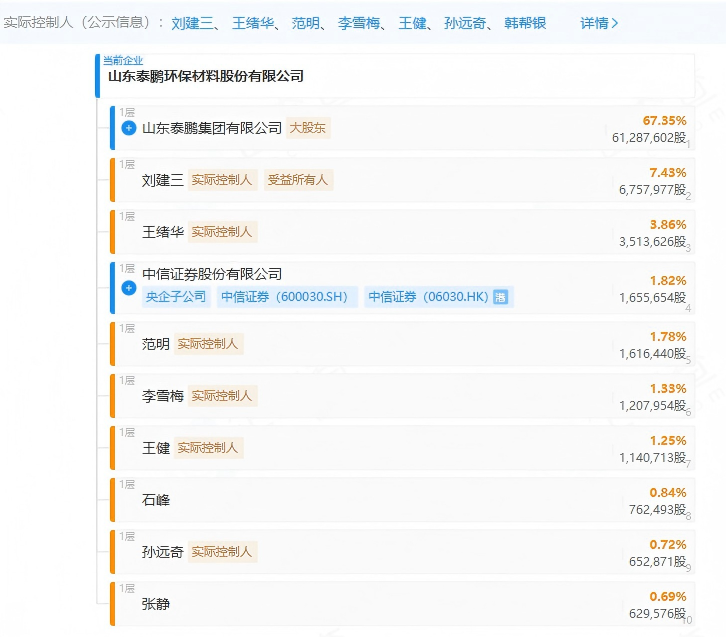
七位实控人平均年龄约60岁
股权结构与公司治理,是本次问询的首要焦点。
据招股书披露,泰鹏环保由刘建三、王绪华等7名自然人共同控制,7人合计直接持股17.03%,并通过泰鹏集团间接持股40.36%,合计控制公司57.39%表决权。

值得关注的是,这7名实控人平均年龄约60岁,属于典型高龄创始管理团队。其中,韩帮银、李雪梅2人已于报告期前退休,仅5名实控人在公司担任董事长、副董事长、董事、监事会主席等核心管理职务。
申报文件显示,为维系控制权稳定,7名实控人签署了《一致行动协议》,协议约定若经三次协商仍无法达成一致,将按持股数“多数决”。北交所对此模式提出多重疑问,要求公司说明实控人具体分工、未来人才梯队建设计划,以及如何确保这一“高龄化”共同控制结构的中长期稳定性。并要求核实实控人亲属是否应被纳入一致行动人范畴,对锁定期安排与未来减持的合规性进行说明。
有业内人士向经济导报记者分析,在当前A股上市公司中,由多位高龄创始人共同控制的情况已不多见,这为企业战略的连贯性与代际传承带来了不确定性。
经济导报记者注意到,泰鹏集团旗下另一主营庭院帐篷等户外用品的公司泰鹏智能(873132.BJ)已于2023年11月成功挂牌北交所,其实际控制人为刘建三、石峰等8人,其治理结构与泰鹏环保高度相似,且核心人员高度重合。
“左手分红右手补流”?
泰鹏环保的财务情况和募投计划也受到监管层的严格审视。
招股书显示,泰鹏环保本次拟公开发行股票募集资金2.41亿元,其中1.81亿元计划用于“多组份纺粘非织造新型环保复合滤材生产项目(二期)”建设,剩余6000万元则用于补充流动资金。
问询函指出,公司在报告期内曾进行过多次大额现金分红,要求公司结合历史分红情况、货币资金余额及理财情况,进一步论证在连续分红后,再次募资6000万元用于补充流动资金的必要性与合理性。
招股书显示,公司募投二期项目拟新增6000吨产能。但其一期项目有效产能4800吨,截至2025年6月末产量仅1378.16吨,产能利用率不足60%。对此,监管层提出质疑,要求公司对新增产能的必要性提供更具说服力的数据支撑。
此外,申报材料显示,报告期内,泰鹏环保境内外销售毛利率均高于同行业可比公司平均水平。对此,北交所要求其进一步论证毛利率优势的合理性与真实性,并核实收入增长与下游行业发展趋势的匹配度。
二度冲刺A股
事实上,这并非泰鹏环保首次尝试登陆A股市场。
2015年3月,泰鹏环保在新三板挂牌。2021年6月,公司在挂牌5年后选择摘牌冲刺深交所主板上市,但递交申报材料的次月,其便被抽中现场检查。2022年3月,泰鹏环保主动终止了IPO排队进程。
2024年4月,泰鹏环保再度挂牌新三板,试图在北交所实现上市目标。

公开资料显示,泰鹏环保成立于2003年,是一家专注于非织造环保材料研发、生产与销售的企业,法定代表人为王绪华,注册资本9100万元,注册地址位于泰安肥城。公司核心产品涵盖纺粘非织造布、针刺非织造布、高温过滤材料等品类,主要应用于过滤分离、工业用材、环保治理等领域,产品销往国内外多个市场,定位高端耐用型非织造材料赛道。
截至发稿,泰鹏环保尚未披露对第二轮问询函的具体回复内容。
(大众新闻·经济导报记者 石潇懿)
|