近日,东方付通支付科技有限公司(下称“东方付通”)100%股权转让项目在上海联合产权交易所挂牌,转让方为上海欧冶供应链有限公司,转让底价为1.82亿元。

资料显示,东方付通成立于2011年,由上海欧冶供应链有限公司100%持股,后者由欧冶云商股份有限公司100%控股,实际控制方为中国宝武钢铁集团有限公司。
据官网信息,目前,东方付通持有储值账户运营Ⅰ类牌照,已打通了全国700多家银行的支付渠道,业务范围覆盖钢铁、化工、能源、循环物资、物流等行业。
根据挂牌信息,东方付通现有注册资本为1亿元。经中资资产评估有限公司评估并出具资产评估报告,截至2025年10月31日,东方付通价值(所有者权益)约为1.82亿元。
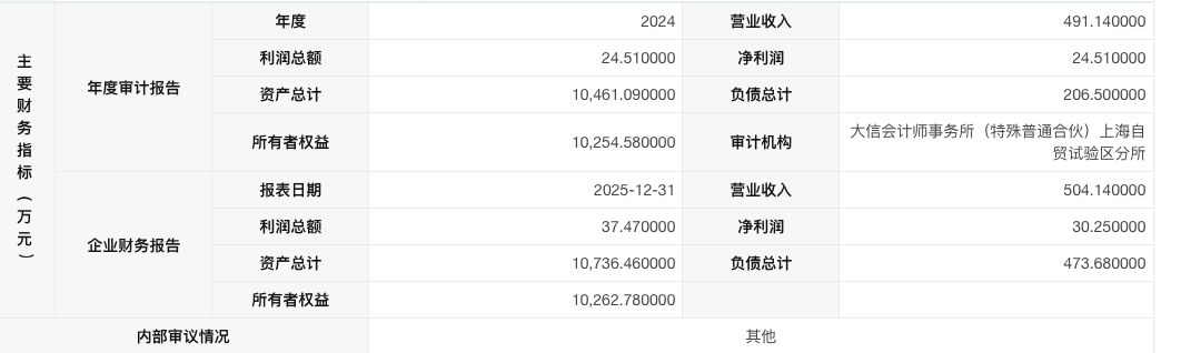
财务数据方面,2024年,东方付通营收约为491.14万元、净利润约24.51万元;2025年,该公司营收约为504.14万元、净利润约30.25万元。

根据转让公告,交易完成后,东方付通不得继续使用中国宝武系字号、资质及特许经营权,受让方需承接原债权债务,并按转让方制定的方案安置10名员工。
转让公告还强调,受让方在成功竞得股权后,需履行三项要求:在2026年5月底前,持续配合标的企业完成股东变更的申报与审批;在2026年6月21日前,对标的企业完成增资;在2026年6月21日前,向人民银行递交换发支付业务许可证申请,并在2026年12月21日前完成换发支付业务许可证审批,否则可能会影响标的企业支付业务的继续开展。
经济导报记者注意到,此前,东方付通100%股权曾在2025年11月挂牌,但彼时其未对外披露转让底价等信息。
实际上,支付牌照转让在行业内并不少见。
2022年,小商品城(600415.SH)以4.49亿元收购海尔金控持有的海尔网络全部股权,借此间接持有快捷通100%股份,成为这家支付机构的实际控制人;2025年3月,传化智联也将旗下传化支付100%股权转让给上海寻汇,交易价格为3.15亿元。
此外,抖音旗下天津同融以近14亿元收购海联金汇(002537.SZ)旗下联动优势100%股权,将银行卡收单资质收入囊中。海联金汇今年1月26日在投资者关系平台上表示,“该股权转让交易处于履行进程中,尚需通过监管机构核准,核准结果及最终做出决定的时间存在不确定性;若最终交易完成,该公司持有的所有牌照均随着股权转让而转移至受让方,公司将不再从事须牌照许可的支付业务。”
有市场人士表示,优质支付牌照的稀缺价值依旧被市场看重,且互联网企业仍然青睐支付牌照。在支付牌照存量市场竞争下,收购牌照依旧是业务合规的高效路径。
(大众新闻·经济导报记者 于婉凝)
|