山东省电子税务局2月2日信息显示,莒南县城市建设投资集团有限公司新增3条欠税公告。发布单位均为国家税务总局莒南县税务局。发布日期为1月30日。其中,欠印花税66,999.19元;欠城镇土地使用税1,052,191.12元;欠房产税 105.02元。

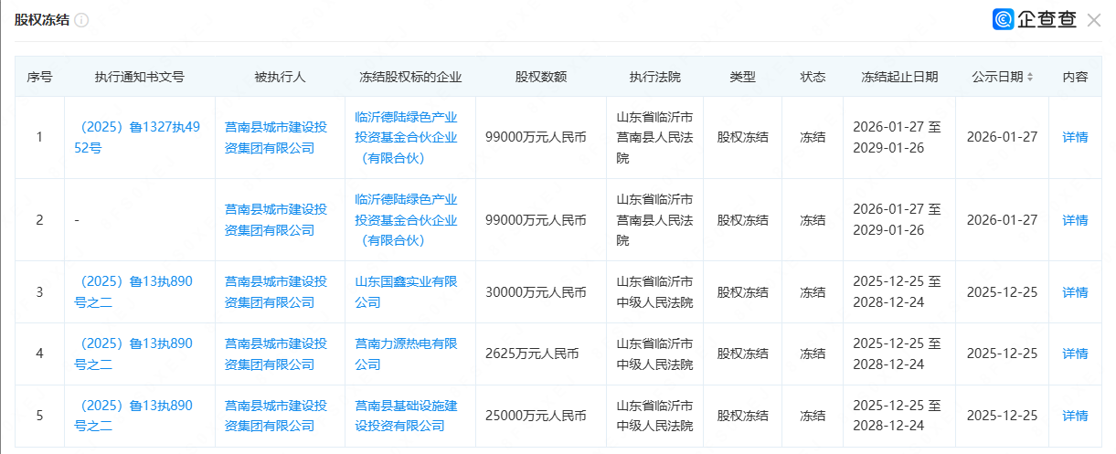
1月29日,企查查公开信息显示,莒南县城市建设投资集团有限公司持有股权被法院冻结,冻结股权标的企业为:临沂德陆绿色产业投资基金合伙企业(有限合伙),冻结权益数额为:99000万元人民币 冻结期限为:2026-01-27至2029-01-26。执行法院为:莒南县人民法院。执行裁定书文号为(2025)鲁1327执4952号。


来自企查查信息显示,莒南县城市建设投资集团有限公司成立于2004年9月,法定代表人王亮,企业位于山东省临沂市莒南县,是一家国有企业,董事长为孙建华。公司主要从事建设工程施工、以自有资金从事投资活动以及房地产开发经营等业务。莒南县城市建设投资集团有限公司作为地方国有城投企业,受益于莒南县固定资产投资增长的政策环境,特别是第二产业40.4%的投资增速为建筑工程业务提供了市场空间。
|