1月27日,枣庄润立置业发展有限公司(下称“枣庄润立置业”)100%股权在山东产权交易中心正式挂牌转让,转让底价为1.71亿元,转让方为枣庄中汇住宅开发有限公司,挂牌截止日期为2月28日。

挂牌信息显示,枣庄润立置业成立于2025年8月,注册资本50万元,法定代表人刘洋,注册地址位于山东枣庄。该公司的业务范围涵盖房地产开发经营、物业管理、园林绿化工程施工、非居住房地产租赁等,目前暂无在职职工记录。

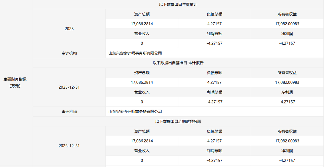
财务数据显示,截至2025年12月31日,枣庄润立置业资产总额为17086.28万元,负债总额为4.27万元,营业收入为0,净利润为-4.27万元。以2025年12月31日为评估基准日,公司净资产评估值为17082.01万元,本次转让标的对应评估值即为17082.01万元。
从股权结构看,枣庄中汇住宅开发有限公司持有枣庄润立置业100%股权。转让完成后,枣庄中汇住宅开发有限公司将完全退出枣庄润立置业,后者的实际控制权将发生转移。
经济导报记者注意到,枣庄中汇住宅开发有限公司为枣庄市市中区区属国企,由山东中汇城市发展投资集团有限公司100%持股。
另据挂牌信息,本次股权转让价款需分期支付,首期付款不低于交易价款的30%,剩余价款需在《产权交易合同》生效之日起5个工作日内完成支付,意向受让方需在挂牌截止日前缴纳1700万元保证金。
(大众新闻·经济导报记者 石潇懿)
|