1月27日,日照锐翔通用航空有限公司(下称“日照锐翔通航”)49%国有股权在山东产权交易中心正式挂牌转让,转让底价为567.5万元,转让方为山东省机场管理集团日照机场有限公司(下称“日照机场”),挂牌截止日期为2月28日。

挂牌信息显示,日照锐翔通航成立于2016年7月,注册资本2000万元,法定代表人崔政发,注册地址位于山东日照。该公司的业务范围涵盖通用航空服务,包括私用和商用航空器驾驶员执照培训、航空器代管、空中游览等,同时也涉及航空技术咨询、文化交流及会展服务等多元化业务。目前,该公司在职职工人数为50人。

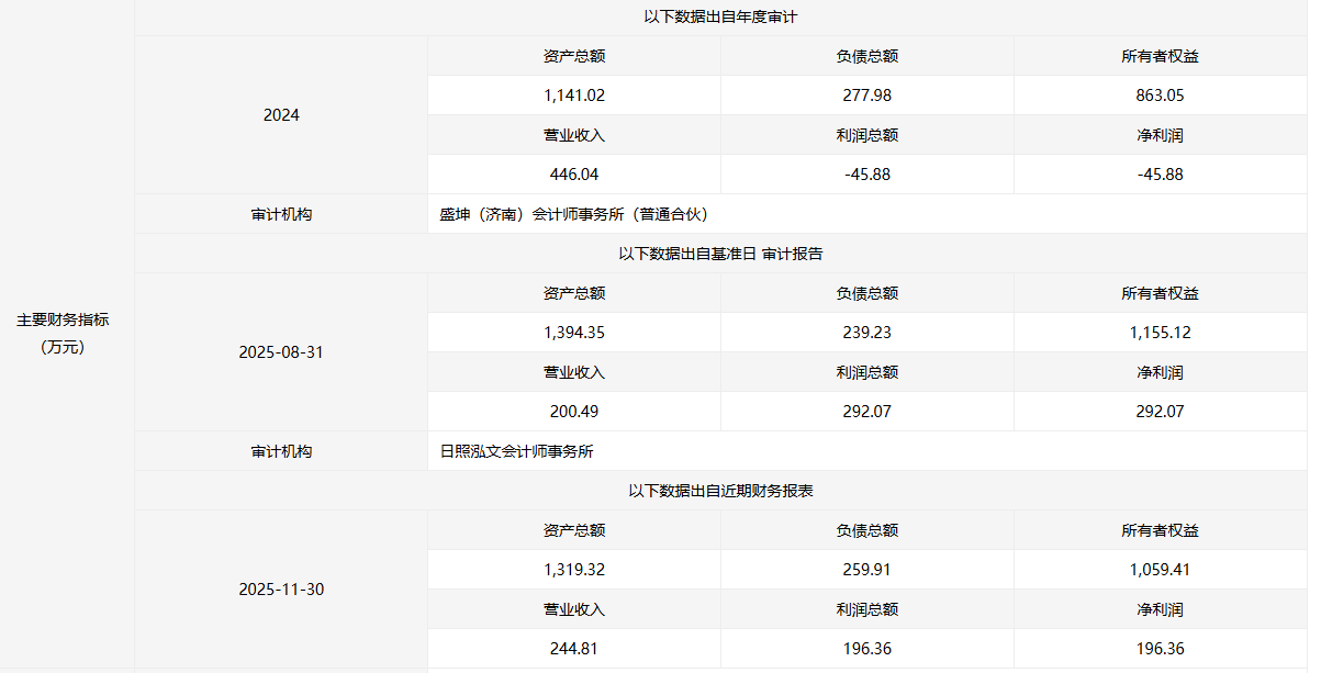
财务数据方面,截至2025年11月30日,日照锐翔通航的资产总额为1319.32万元,负债总额为259.91万元,营业收入244.81万元,净利润为196.36万元;而在2024年度,公司营业收入为446.04万元,净利润为-45.88万元。
资产评估结果显示,以2025年8月31日为评估基准日,公司资产总计评估值为1392.48万元,负债总计评估值为234.32万元,净资产评估值为1158.16万元,本次转让标的对应评估值即为567.5万元。
从股权结构看,北京欣奕华航空服务有限公司持有其51%股权,日照机场持股49%。值得注意的是,本次转让的正是后者所持有的全部股权,转让完成后,日照机场将完全退出日照锐翔通航的股权结构。
另据挂牌信息,日照锐翔通航股东北京欣奕华航空服务有限公司未放弃优先受让权。转让完成后,标的公司的实际控制权不会发生转移,北京欣奕华航空服务有限公司仍将保持控股地位。
企查查显示,转让方日照机场成立于2012年9月,注册资本4亿元,法定代表人李连涛,由山东省机场管理集团有限公司与日照交通能源发展集团有限公司各持股50%。
值得注意的是,在此之前的1月14日,日照机场曾挂牌转让日照市岚山通用机场有限公司35%国有股权。2025年12月29日,日照机场还注销了其旗下的日照机场航空服务有限公司。

企查查显示,日照机场先后对外投资了11家公司,目前存续6家,其余5家已注销。经济导报记者注意到,其存续的投资企业中,低空快线(日照)飞机有限公司曾因借款合同纠纷于2025年8月被列为被执行人,案件执行标的达4837.6475万元;同年12月23日,该公司法定代表人王娉被采取限制高消费措施。据了解,日照机场持有该公司20%的股权。
(大众新闻·经济导报记者 石潇懿)
|