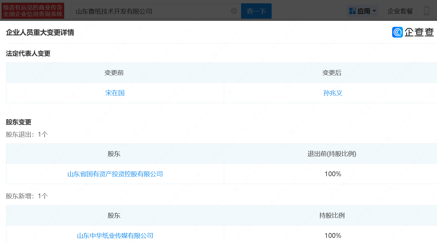
企查查显示,1月20日,山东省国有资产投资控股有限公司(下称“山东国投”)退出山东鲁纸技术开发有限公司(下称“山东鲁纸”),退出前持股比例为100%。该部分股权全部由山东中华纸业传媒有限公司(下称“山东中华纸业”)接手。
山东中华纸业是山东国投全资子公司,所以本次股权变动属于山东国投体系内的垂直整合 。

同日,山东鲁纸原法定代表人、执行董事兼总经理宋在国、监事秦建退出,孙兆义新任公司法定代表人、经理、董事。
山东鲁纸成立于1992年8月,注册资本为300万元,位于济南市历城区,经营范围包含造纸工业新技术、新产品的开发、推广、咨询、服务、转让,微机应用技术开发,造纸设备、仪器的开发、生产,自身开发产品、纸浆、纸张的销售,进出口业务。
山东中华纸业成立于2002年4月,法定代表人为李玉峰,注册资本为300万元,位于济南市历城区,经营范围包含广告发布、制作、设计、代理,会议及展览服务,数字内容制作服务,平面设计,纸制品制造等。
经济导报记者注意到,2025年12月,山东国投同样进行过一次体系内整合。当时,山东国投将山东省医药集团有限公司100%股权“划转”到山东省国控资产运营有限公司(下称“山东国控资产运营”)。山东国控资产运营也为山东国投全资子公司。
山东国投成立于1994年,注册资本45亿元,法定代表人为栾健。作为山东省委管理的国有重要骨干企业,其是山东省首家省级国有资本运营公司,承担着贯彻实施山东省委、省政府战略意图、引导带动全省经济创新发展的功能。

经济导报记者注意到,2025年11月,原“山大系”鸥玛软件(301185.SZ)控股权无偿划转至山东国投,成为其新控股股东。
(大众新闻·经济导报记者 贾义航)
|