阿里资产交易平台最新信息显示,枣庄银行2434.10万股股份拍卖于11月1日成交,成交价为1308.57万元,每股约0.538元。本场拍卖仅有1人报名,最终以起拍价成交。

据悉,本次是庄银行上述股权的第三次拍卖。该笔股权曾于2023年6月份两次上架,起拍价分别为 3181.33万元和 2545.06万元,这两场拍卖均因无人出价而流拍。本次拍卖较首次拍卖降价1872.76万元,降幅约为58.9%,接近六成。

拍卖公告披露,枣庄银行上述拍卖股份由枣庄市金庄矿业有限公司持有,该公司破产清算已获法院受理。2022年8月份,枣庄市中级人民法院裁定受理枣庄市金庄矿业有限公司破产清算一案,并指定某律师事务所担任该公司管理人。

据年报披露,截至2024年末,枣庄银行的总股本为37.26亿股。根据本次拍卖成交价每股0.538元计算,枣庄银行的总体估值约为20亿元。
此前,枣庄仙坛山温泉小镇旅游度假有限公司持有的枣庄银行846.42万股股权也经历了3次流拍,今年9月份最终以 455.03万元的起拍底价成交,较首次起拍价728.76万元降价273.73万元,降幅达37.6%。
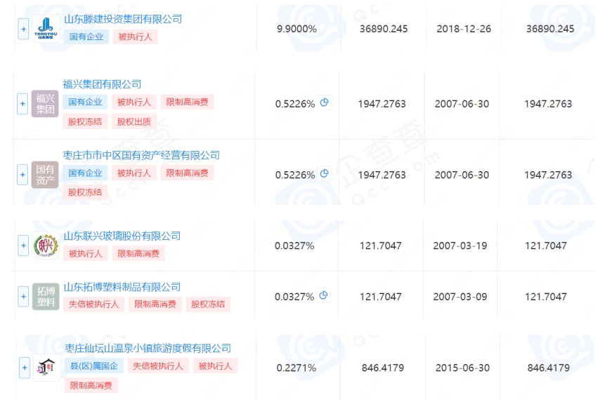
公开资料显示,枣庄银行前身为枣庄市城市信用社,2007年组建成枣庄市商业银行,2012年6月更名为枣庄银行,注册资本37.26亿元。该行第一大股东为枣庄矿业(集团)有限责任公司,持股比例55%;第二大股东为枣庄市财金控股集团有限公司,持股比例13.44%;第三大股东为山东滕建投资集团有限公司,持股比例9.9%。
根据企查查提供的信息,截至目前,枣庄银行已有4家股东被法院列为被执行人,分别是山东滕建投资集团有限公司、枣庄市市中区国有资产经营有限公司、福兴集团有限公司、山东联兴玻璃股份有限公司。该行还有3家股东被法院列为失信被执行人,分别为山东拓博塑料制品有限公司、山东万户数控设备有限公司、滕州市大地机床股份有限公司。


枣庄银行2024年年报披露,2024年枣庄银行实现营业收入9.98亿元,营业利润1.74亿元,净利润1.21亿元。截至2024年末,该行总资产529.53亿元,存款余额391.86亿元,贷款余额314.37亿元,不良贷款率1.97%。
|