近日,金岭矿业(000655.SZ)发布公告称,截至2025年10月16日,第二次在山东产权交易中心公开挂牌转让塔什库尔干县金钢矿业有限责任公司(下称“金钢矿业”)100%股权及债权。挂牌公告期满,未征集到符合条件的意向受让方,公司决定暂停该项目挂牌。
二次挂牌再遇冷
今年5月29日,金岭矿业便在山东产权交易中心将金钢矿业100%股权及对其享有的债权打包挂牌,首次公开挂牌底价为1.84亿元,挂牌期为20个工作日。
然而,截至2025年6月26日首次挂牌期满,金岭矿业“未征集到符合条件的意向受让方”。根据交易规则,项目自动进入延牌阶段。但经过最多四个周期的延长,情况也并未好转。金岭矿业7月26日公告称,截至7月24日,首次公开挂牌延牌阶段公告期满,仍未能征集到意向受让方。
首次挂牌失利后,金岭矿业计划继续推进这次转让,并于2025年7月28日起在山东产权交易中心进行再次公开挂牌。此次挂牌价仍为1.84亿元,挂牌公告期调整为5个工作日,并设置了最多延长10个周期的延牌机制。遗憾的是,第二次挂牌同样未能打破僵局。
转让信息显示,金钢矿业成立于2004年,注册地新疆维吾尔自治区喀什地区,注册资本120万元,法定代表人郭峰。经营范围包括铁矿石、铁精粉、铜精粉、钴精粉的生产、销售;钢铁产品销售;矿业工程设计、咨询、施工、承包;劳务服务;采矿、地质、测量、选矿、设备管理维护、设备维修技术服务等。

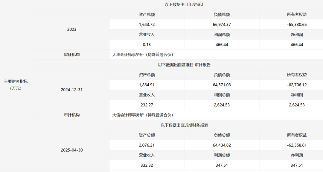
从财务指标看,2024年,金钢矿业实现营业收入232.27万元,利润总额为2624.53万元,净利润为2624.53万元。今年前4个月,实现营业收入332.32万元、利润总额347.51万元,净利润347.51万元。

资产评估结果显示,截至2024年12月31日,金钢矿业总资产账面价值为1864.91万元,评估价值为1.85亿元;净资产账面价值为-6.27亿元,评估价值为-4.6亿元。
金钢矿业的核心资产是乔普卡铁矿采矿权。金岭矿业在5月16日的公告中明确表示,金钢矿业于2005年取得乔普卡铁矿采矿权,主营铁矿石开采、铁精粉加工生产和销售;2015年9月份以后,受市场影响,铁精粉滞销,金钢矿业一直处于停产状态;2017年矿山短暂生产。受自然保护区政策影响,2017年12月,金钢矿业收到采矿权注销公告;2018年,公司矿山生产相关设备全部拆除,矿山关停。
2024年4月,金钢矿业权申请通过审查,经提交有关材料后,同年6月,金钢矿业重新取得采矿权证,开采方式为露天/地下开采,生产规模为190万吨/年,矿区面积为4.1736平方公里,有效期限至2029年2月。因矿山复产需要重新办理安全、环保等手续,需重新设计、审批和投资建设,目前矿山未恢复生产。未来对于乔普卡矿山投资及运营金钢矿业尚无详细规划。
在两次尝试均无果后,金岭矿业作出了“暂停该项目挂牌”的决定。至此,这场持续了近5个月的资产转让计划以失败而告终。
优化资源配置
金岭矿业是山东钢铁集团有限公司(下称“山钢集团”)旗下上市公司之一,成立于1996年9月,注册资本5.95亿元,注册地山东省淄博市,2006年通过重大资产重组在深交所上市。主营业务是铁矿石开采,铁精粉、球团矿的生产、销售及机械加工与销售,主要产品包括铁精粉、球团矿,副产品铜精粉。

山钢集团通过全资子公司山东金岭铁矿有限公司控股金岭矿业,持股比例58.41%。目前,金岭矿业拥有全资子公司山东金召矿业有限公司、金钢矿业,控股喀什金岭球团有限公司,参股山东金鼎矿业有限责任公司和山东钢铁集团财务有限公司。
金岭矿业三季报显示,报告期内,公司营业总收入为12.47亿元,较去年同期增加1.43亿元,已两年连续上涨,同比上涨12.98%。归母净利润为2.20亿元,较去年同期归母净利润增加7058.39万元,同比上涨47.09%。经营活动现金净流入为2.08亿元,较去年同报告期经营活动现金净流入增加1.18亿元,同比上涨130.91%。
金岭矿业转让金钢矿业意在甩掉负资产包袱。金岭矿业在5月披露的公告中明确表示,本次交易的目的在于“优化公司资源配置,提高整体运营效率,提升公司综合实力,符合公司的整体发展战略”。
而剥离金钢矿业这类低效资产,成为金岭矿业优化资源配置的必然选择。2024年以来,金岭矿业确立“做强铁矿主业、做实有色产业”的转型主线,将从铁矿石生产加工商向综合的矿产资源生产加工和服务商转型,从传统的成本费用单元向以效益为导向的经营利润中心转变,从依靠生产经营的“单轮驱动”向生产经营与资本运营协同发展的“双轮驱动”模式升级。一方面,其通过收购齐河县大张地区铁矿探矿权(已完成交割)补充高品位资源储备,另一方面,其还组建专业化团队,布局有色金属领域。
(大众新闻·经济导报记者 刘勇)
|